Основные гидравлические уплотнения Ruichen Seals в основном включают в себя несколько типов уплотнений, каждый из которых имеет свои преимущества. Уплотнительные кольца широко используются в различных случаях динамического и статического герметизации из-за их низкой стоимости производства и удобного использования. Большинство стран сформулировали серию стандартов продукта для уплотнительных колец, среди которых американский стандарт (AS568), японский стандарт (JISB2401) и Международный стандарт (ISO 3601/1) более распространены. Национальные стандарты являются GB3452.1 и GB1235.
Звездное кольцо в форме звезда представляет собой уплотнение с четырьмя жипками с X-образной формой, поэтому оно также называется x-образным кольцом. Это улучшение и улучшение, основанное на уплотнительном кольце. Его поперечные размеры совпадают с уплотнительным кольцом США, как стандарт 568A, и в основном может заменить использование уплотнительного кольца.
Преимущества звездных колец
По сравнению с уплотнительными кольцами, звездные кольца имеют меньшую стойкость к трениям и меньше начального сопротивления, потому что они образуют смазывающую полость между герметизирующими губами. Поскольку его края вспышки расположен в вогнутой части поперечного сечения, эффект герметизации лучше. Несоответствие поперечного сечения эффективно позволяет избежать явления прокатки во время возвратного движения.
Рабочий механизм звездного кольца
Звездное кольцо-это самореализирующий уплотнение двойного действия. Радиальные и осевые силы зависят от давления системы. Когда давление повышается, деформация сжатия звездного кольца будет увеличиваться, и общая сила герметизации будет увеличиваться, что образует надежное уплотнение.
Как выбрать кольцо в форме звезды
Если диаметр вала и отверстия известен, выберите соответствующее кольцо в форме звезды в соответствии со следующими критериями:
1. Статическое уплотнение или возвратное линейное движение: (1) Окрашивание отверстия: внутренний диаметр кольца в форме звезды должно быть совместимо с канавкой или менее 2% от нижнего диаметра канавки. Поскольку предварительная сжатия сила, генерируемая до сжатия, может эффективно предотвратить скручивание и прокатывание уплотненного кольца в форме звезды. (2) Уплотнение вала: внутренний диаметр кольца в форме звезды должно быть равным или, соответственно, больше, чем внешний диаметр вала примерно на 0,2 ~ 0,3 мм, или оно может быть примерно на 1% больше, чем внешний диаметр вала. В результате кольцо уплотнения будет проще установить и иметь более длительный срок службы.
2. Вращающее уплотнение: внутренний диаметр кольца в форме звезды должно быть примерно на 2 ~ 5% больше диаметра вала, который он запечатывает. Потому что кольцо уплотнения будет генерировать трение и нагревать при использовании в вращающемся движении, а резина уменьшится при нагревании (эффект джоуля). Следовательно, чтобы гарантировать, что кольцо уплотнения можно смазать и надежно работать, должно быть выбрано кольцо в форме звезды с внутренним диаметром больше, чем диаметр вала. Обычно кольцо уплотнения с меньшим поперечным сечением может удовлетворить потребности статического уплотнения. Напротив, для удовлетворения динамического уплотнения должно быть выбрано кольцо с большим поперечным сечением. В случае высокого давления или больших зазоров необходимо выбрать резиновый материал с более высокой твердостью. Лучший способ - добавить подпорное кольцо PTFE, чтобы предотвратить повреждение экструзии высокого давления.
Уплотнительное кольцо с покрытием органически объединяет эластичность и герметику резины с химической стойкостью тефлона. Он состоит из внутреннего ядра силиконового или флуорруббера и относительно тонкого тефлонового FEP или тефлонового внешнего покрытия PFA.
Материал: Тефлоновый FEP и тефлоновый PFA по существу сходны, но тефлоновый PFA обладает лучшей высокой температурной сопротивлением, чем тефлоновый FEP. Применимый диапазон температур Тефлоновой FEP оболочка: -60 ℃ ~ 205 ℃ может использоваться при 260 ℃ в течение короткого времени тефлоновой оболочки PFA: -60 ℃ ~ 260 ℃ может использоваться при 300 ℃ для короткого времени преимуществ:
1. Выдающаяся химическая устойчивость, подходящая почти для всех химических средств
2. широкий диапазон температуры
3. Хорошее сопротивление сжатию
4. Анти-фрикация
5. Хороший анти-пробел
6. сопротивление высокого давления
7. Отличная запечатанная долговечность и длительный срок службы
Применение: насосы и клапаны, реакционные сосуды, механические уплотнения, фильтры, сосуды под давлением, теплообменники, котлы, трубопроводные фланцы, газовые компрессоры и т. Д.
Прикладная промышленность: химическая промышленность, производство самолетов, фармацевтическая промышленность, нефтяная и химическая транспортировка и переработка, киноиндустрия, инженерия -охлаждение, промышленность пищевой промышленности, промышленность изготовления бумаги, производство красителей, распыление красок и т. Д.
Инструкции по установке для герметизации колец
1. Части, в которых установлены или пропускаются герметичные кольца, должны быть гладкими, без заусенцев, канавок и острых углов. Шероховатость внутреннего отверстия должна достигать 1,6 мкм, а шероховатость вала должна достигать 0,8 мм.
2. Нанесите чистое светло -масло или смазку, чтобы смазать поверхность герметичного кольца и соответствующих деталей в контакте.
3. Если трудно установить герметизирующее кольцо на валу, погрузите его в горячую воду на несколько минут, чтобы расширить его. Это смягченное и расширенное уплотнительное кольцо проще установить. Установите уплотнительное кольцо, когда оно будет горячим, и его размер вернется к первоначальному размеру после охлаждения.
4. Не сгибайте уплотнительное кольцо слишком жестоко, в противном случае оно вызовет морщины в тефлоне и повлияет на его использование.
Рекомендуемое сжатие уплотнительного кольца с покрытием следующим образом:
Статическое состояние герметизации: 15%-20%
Динамическое состояние герметизации: 10%-12%
Пневматическое состояние: 7%-8%
Фактическое сжатие должно учитывать условия труда, особенно уплотнительное рабочее давление и другие факторы.
Особенности продукта и приложения:
| Таблица параметров Performance Performance |
|
|
|
|
Статическая печать | Динамическая печать |
| Рабочее давление | Без удержания кольца, максимум 20 МПа С подпорным кольцом, максимум 40 МПа, специальное подпорное кольцо 200 МПа Макс. | Без удержания кольца, максимум 5 МПа С подпорным кольцом, более высоким давлением |
| Скорость | Порешивая 0,5 м/с максимум, вращение 2 м/с макс. | |
| Температура | Общее использование: -30 ~+110, специальная резина: -60 ~+250, вращение: -30 ~+80 | |
| Середина | См. Раздел материалов | |
| Стандартный | Диаметр поперечного сечения уплотнительного кольца w |
|
|||||
| Американский стандарт как 568 Британский стандарт BS 1516 | 1.78 | 2.62 | 3.52 | 5.33 | 6.99 | - | |
| Японский стандарт IT B2401 | 1.9 | 2.4 | 3.1 | 3.5 | 5.7 | 8.4 | |
| Международный стандарт ISO 3601/1 Немецкий стандарт DIN 3771/1 Китайский стандарт CB 3452.1 | 1.8 | 2.65 | 3.55 | 5.30 | 7.00 | - | |
| Предпочтительные размеры метриков | 1.0 | 1.5 | 2.0 | 2.5 | 3.0 | 3.5 | |
| 4.0 | 4.5 | 5.0 | 5.5 | 6.0 | 7.0 | ||
| 8.0 | 10.0 | 12.0 |
|
|
|
||
| Американский стандарт как 568 (Серия 900) | 1.02 | 1.42 | 1.63 | 1.83 | 1.98 | 2.08 | |
| 2.21 | 2.46 | 2.95 | 3.00 |
|
|
|
|
| Ассортимент приложений звездных колец очень широкий. Выберите правильный материал в соответствии с температурой, давлением и средой. Чтобы адаптировать звездное кольцо к данному приложению, должны учитываться взаимные ограничения между всеми рабочими параметрами. При определении диапазона применения необходимо учитывать пиковую температуру, непрерывную рабочую температуру и рабочую температуру. В вращающихся приложениях также необходимо учитывать повышение температуры, вызванное теплом трения. | |||||
| Технические параметры | Динамическая печать | Статическая печать |
|
||
| По возвращении движения | Вращательное движение |
|
|||
| Рабочее давление (MPA) | С подпорным кольцом | 30 | 15 | 40 |
|
| Без удержания кольца | 5 | - | 5 |
|
|
| Скорость (м/с) | 0.5 | 2.0 | - |
|
|
| Температура (℃) | Общие случаи: -30 ℃ ~+110 ℃ |
|
|||
| Специальные материалы: -60 ℃ ~+200 ℃ |
|
||||
| Вращающиеся случаи: -30 ℃ ~+80 ℃ |
|
||||
Материал звездного кольца:
Материал, как правило, Shaw A70 Нитриловый резиновый NBR.
Уплотнительное кольцо с покрытием:
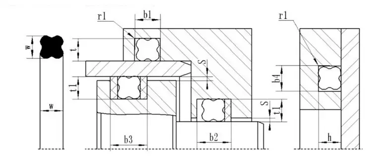
Схематическая диаграмма канавки инкапсулированного уплотнительного кольца
Размерная таблица канавки инкапсулированного уплотнительного кольца (рекомендуется)
| Диаметр провода d | А (мм) | B (мм) | ||
| Статическая печать | Динамическая печать | Пневматическая печать | ||
| 1.78 | 2.36/2.49 | 1,42/1,52 | 1,55/1,60 | 1,63/1,65 |
| 2.62 | 3.56/3.68 | 2.08/2.21 | 2.29/2.36 | 2.39/2.44 |
| 3.53 | 4.75/4.88 | 2.82/3.00 | 3.10/3.18 | 3.22/3.28 |
| 5.33 | 7.14/7.26 | 4.27/4.52 | 4.67/4.80 | 4.90/4.95 |
| 6.99 | 9.63/9.65 | 5,59/5,89 | 6.15/6.27 | 6,43/6,48 |
Руководство по установке уплотнения PTFE Ruichen
Ⅰ. Руководство по установке
1. Уплотнение должно быть установлено на предварительно загруженной стороне, обращаясь к направлению давления.
2. Цилиндровый кузов и поршневой стержень должны быть сделаны с толкательными фасками, которые отвечают требованиям образцов нашей компании.
3. резкие края должны быть свободны от заусенцев и округлены или счищены.
4. Нити, направляющие кольцевые канавки и т. Д. Должны быть покрыты, потому что уплотнение не может быть протолкнуто через канавки, просверленные отверстия или шероховатые поверхности.
5. Любая пыль, мусор или другие посторонние частицы должны быть тщательно удалены.
6. Инструменты с острыми краями не должны использоваться.
7. Кольца запечатывания PTFE легче расширить в нагреваемом масле или воде (около 80 ~ 120 градусов), и их легко восстановить в исходной форме.
8. Если намазчик уплотнения должен пройти через отверстие для давления масла, следует использовать пластиковую палку, чтобы осторожно толкать губу, чтобы не допустить повреждения герметичной губы. Отверстия цилиндра должны быть скошены. (Рисунок 3)
Ⅱ. Метод установки
Открыть (разделенные) канавки могут быть установлены без инструментов.
Установка уплотнений поршневого стержня с замкнутым раствором (рис. 1)
1. Очистите и масляные подложки, уплотнения и инструменты установки.
2. Поместите резиновое кольцо в канавку (будьте осторожны, чтобы не скрутить его).
3. Сжатие кольца уплотнения PTFE в форму почки без образования заостренного изгиба, поместите сжатое кольцо уплотнения PTFE в канавку и осторожно сглаживает его вручную.
4. Толкните оправку восстановления к уплотнению и осторожно поверните оправку. Оставьте его на 1 минуту и удалите оправку. Установка завершена.
Установка поршневых уплотнений в закрытых канавках (рисунок 2)
1. Очистите и масляные подложки, уплотнения и инструменты установки.
2. Поместите резиновое кольцо в канавку (будьте осторожны, чтобы не скрутить его).
3. Нажмите кольцо герметизации PTFE на направляющий рукав и вытяните кольцо запечатывания.
4. Втогните растянутое герметизированное кольцо в поршневую канавку.
5. Нажмите рукав коррекции в герметизирующее кольцо и одновременно поверните рукав коррекции. Снимите рукав коррекции после ухода на 1 минуту, и установка завершена.
Примечание: 1. Пожалуйста, проконсультируйтесь с нашей компанией, если продукт, указанный в образце нашей компании, не может быть установлен в закрытой канавке, но не подходит для открытой канавки.
2. Приведенная выше установка уплотнений PTFE не применима ко всем уплотнениям PTFE. Пожалуйста, проконсультируйтесь с нашей компанией, если это необходимо.



























Адрес
№ 1 Ruichen Road, промышленный парк Дунлютин, район Чэнъян, город Циндао, провинция Шаньдун, Китай
Тел.
Электронная почта