Гидравлические пылевые уплотнения - один из продуктов герметизации, которые могут производить уплотнения руичена. Вы можете узнать о различных моделях в этом типе продукта, а также можете создавать структурные комбинации. При необходимости вы также можете связаться с нами за помощью или настраиваемые решения или связаться с нами, чтобы получить образец книги.
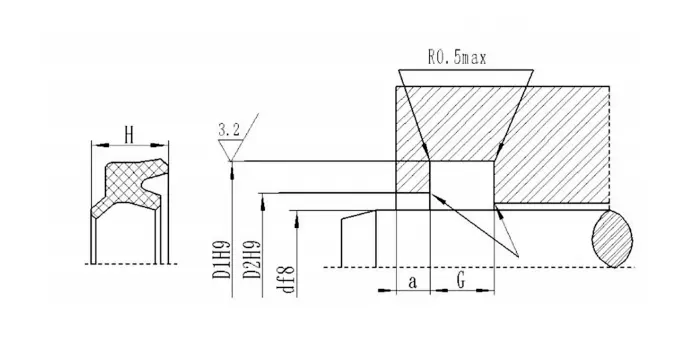
RCF01 и RCF02 представляют собой двусторонние пылевые уплотнения, состоящие из кольца с двойным плавным уплотнением, заполненным анти-носовым материалом PTFE и О-образным резиновым кольцом. Уплотнительное кольцо обеспечивает силу предварительной нагрузки, чтобы компенсировать износ кольца PTFE. RCF01 подходит для тяжелых случаев, таких как пыльная или холодная среда и высокочастотные возвратные движения. Разделенные канавки должны использоваться для диаметров вала менее 30 мм. RCF02 подходит для взаимного движения, качания или условий спирального движения.
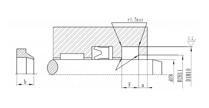
RCF03 представляет собой одностороннее пылевое кольцо, состоящее из однократного кольца пылевого скребка, заполненного материалом PTFE и о-образного резинового кольца. Его функция состоит в том, чтобы очистить пыль и предотвратить загрязнение системы. Он подходит для возврата движения, качания или условий спирального движения.
RCF04 и RCF05 представляют собой пылевые кольца с двойным списком, состоящие из специальной формы кольца с герметизирующей губой и пылепроницаемой губой и двумя уплотнительными кольцами в качестве элементов для предлога, которые используются для улучшения общего герметизации. Он обладает характеристиками долгой жизни, низкого трения, отсутствия вязкости и высокой надежности. RCF04 в основном используется в сельскохозяйственном механизме, гидравлических прессах, машинах для формования инъекций, системах гидравлического управления, вилочных погрузчикам, катящимися машинах, кранах, а также механизмам погрузки и разгрузки. RCF05 в основном используется в гидравлических прессах, машинах для литья под давлением, катящимися машинами, металлургическим оборудованием и т. Д. Это особенно подходит для пылеипродажа стереневых стержней с большим диаметром.
DHS Dust Cring представляет собой двойное пылевое кольцо, которое обладает как хорошим пылепроницаемым эффектом, так и определенной функцией уплотнения масляной пленки. Материалы представляют собой высокопроизводительный полиуретан, нитрил-резина и флуоруруббер.
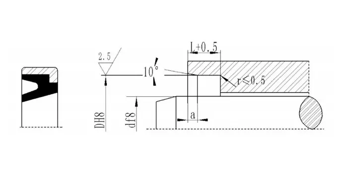
J-образная и JA-образная обработка используется для поршневого гидравлического цилиндрического поршня или стеблей клапанов для царапины пыли. Материалы являются полиуретаном (TPU/CPU) и резина. Канавки и размеры продукта и допуски соответствуют JB/T6657-93 и JB/T6656-93.
Пыльное кольцо GSM используется для предотвращения перемешивания внешних загрязняющих веществ с гидравлической системой и уплотнительной системой и может вернуть гидравлическое масло в систему смазки без утечки снаружи, что имеет эффект вспомогательного герметизации. Материалами являются нитриловая резина, флуоруруббер и полиуретан.
Пылевые кольца GP1 и GP6 используются для предотвращения смешивания загрязняющих веществ в гидравлическую систему и уплотняющую систему. Материал представляет собой нитрильный резиновый NBR, а FluorOrubber FKM выбирается при высокой температуре. GP6 в основном используется для пылепроницаемого герметизации поршневых стернений большого диаметра.
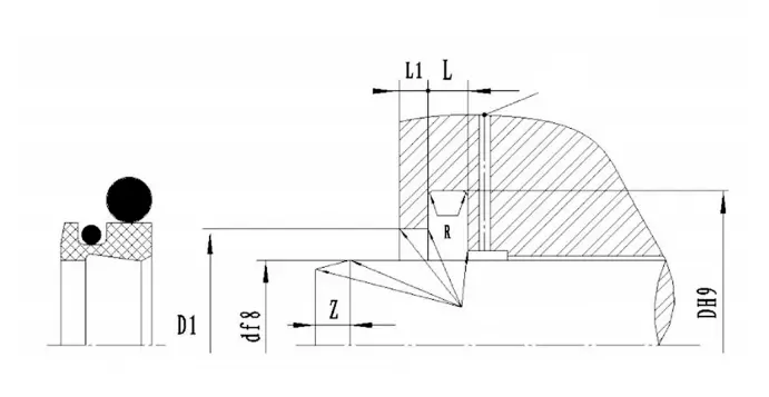
Кольцо из типа AF используется для предотвращения входа в гидравлический цилиндр пыли, грязи, песка и металлических чипсов. Уменьшите риск царапин, вызванных внешними загрязнениями, встроенными в скользящие элементы. Отличный пыльно -надежный эффект может быть достигнут с помощью специальной конструкции пылепроницаемой кольцевой губы. Кольцо имеет характеристики сильной износостойкости, небольшой постоянной деформации и сопротивления внешнему механическому воздействию. Плестое кольцо может быть прочно установлено в соответствующем положении осевой открытой канавки, используя помещение для помех между внешним диаметром герметичной канавки и металлом. Подгонка промыкает, поэтому губа высоко защищает от повреждения, вызванных внешними причинами. С технической точки зрения, пылепроницаемое кольцо типа AF представляет собой подходящее устройство для герметизации головки цилиндра.
Особенности продукта и приложения:
Пример заказа:
Модель заказа RCF01-80-PTFE3-R01
RCF01-модель диаметром 80 вала PTFE3-генерал-модифицированный PTFE R01 Код резинового материала PTFE R01
Нитриловая резина (NBR)-R01 Fluororubber (FKM) -R02
Модель заказа RCF02-80-PTFE3-R01
RCF02-модель диаметром 80 вала PTFE3-Universal Modified PTFE R01-сопоставление кода резинового материала
Нитриловая резина (NBR)-R01 Fluororubber (FKM) -R02
Модель заказа RCF03-80-PTFE3-R01
RCF03-модель диаметром 80 вала PTFE3-Universal Modified PTFE R01-сопоставление кода резинового материала
Нитриловая резина (NBR)-R01 Fluororubber (FKM) -R02
Модель заказа RCF04-80-PTFE3-R01
RCF04-модель диаметром 80 вала PTFE3-Universal Modified PTFE R01-сопоставление кода резинового материала
Нитриловая резина (NBR) -R01 Fluororubber (FKM) -R02
Модель заказа RCF05-80-PTFE3-R01
RCF05-модель диаметром 80 вала PTFE3-генерал-модифицированный PTFE RO1-сочетание каучука код материала
Нитриловая резина (NBR) -R01 Fluororubber (FKM) -R02
Модель заказа: DHS-130*143*8/9,5-R01 D*D1*G/H
J-тип пылевой уплотнение
Пыль
GSM
GSM уплотнения пыли отмечена номером порядка, пример: GSM4048 40-вала диаметром D 48-grove Diade Diamter d
GP1
Маркировка Пример: GP1-70*82*4/8 Model-D*D*L/H
GP6
Метод маркировки: GP6-70*80.6*5.3/7 Model-D*D*L/H
ИЗ
DKB
Спецификации
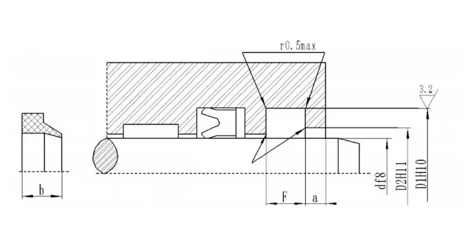
RCF01| Диапазон диаметра вала D F8 |
Диаметр канавки D H9 |
Ширина канавки L+0.2 |
Диаметр открытого отверстия Дюймовый1H11 | Ширина открытой отверстия A≥ |
Округлые углы R≤ |
Диаметр провода уплотнительного кольца дюймовыйO |
| 19 ~ 39 | D+7.6 | 4.2 | D+1,5 | 3 | 0.8 | 2.65 |
| 40 ~ 69 | D+8.8 | 6.3 | D+1,5 | 3 | 0.8 | 2.65 |
| 70 ~ 139 | D+12.2 | 8.1 | D+2.0 | 4 | 0.8 | 3.55 |
| 140 ~ 399 | D+16.0 | 9.5 | D+2,5 | 5 | 1.5 | 5.30 |
| 400 ~ 649 | D+24.0 | 14.0 | D+2,5 | 8 | 1.5 | 7.00 |
| 650 ~ 1500 | D+27,3 | 16.0 | D+2,5 | 10 | 2.0 | 8.60 |
| Диапазон диаметра вала D F8 |
Диаметр канавки D H9 |
Ширина канавки L+0.2 |
Диаметр открытого отверстия Дюймовый1H11 | Ширина открытой отверстия A≥ |
Округлые углы R≤ |
Диаметр провода уплотнительного кольца дюймовыйO |
| 4 ~ 11 | D+4.8 | 3.7 | D+1,5 | 2 | 0.4 | 1.80 |
| 12 ~ 64 | D+6,8 | 5.0 | D+1,5 | 2 | 0.7 | 2.65 |
| 65 ~ 250 | D+8.8 | 6.0 | D+1,5 | 3 | 1.0 | 3.55 |
| 251 ~ 420 | D+12.2 | 8.4 | D+2.0 | 4 | 1.5 | 5.30 |
| 421 ~ 650 | D+16.0 | 11.0 | D+2.0 | 4 | 1.5 | 7.00 |
| 651 ~ 1500 | D+20.0 | 14.0 | D+2,5 | 5 | 2.0 | 8.60 |
| Диапазон диаметра вала D F8 |
Диаметр канавки DH9 |
Диаметр шага D1 H11 |
Ширина канавки L+0.2 |
Общая ширина L1 |
Округлые углы Rmax |
Длина пачки Змин |
| 20 ~ 39,9 | D+7.6 | D+1 | 4.2 | 8.2 | 0.4 | 3 |
| 40 ~ 69,9 | D+8.8 | D+1,5 | 6.3 | 10.3 | 1.2 | 4 |
| 70 ~ 139,9 | D+12.2 | D+2.0 | 8.1 | 12.1 | 2 | 6 |
| 140 ~ 399,9 | D+16.0 | D+2.0 | 11.5 | 15.5 | 2 | 8 |
| 400 ~ 649,9 | D+24.0 | D+2,5 | 15.5 | 19.5 | 2 | 10 |
| 650 ~ 1000 | D+27,3 | D+2,5 | 18.0 | 23.0 | 2 | 12 |
| Диапазон диаметра вала D F8 |
Диаметр канавки DH9 |
Диаметр шага D1 H11 |
Ширина канавки L+0.2 |
Ширина боковой L1 |
Округлые углы Rmax |
Длина пачки Змин |
| 100 ~ 229 | D+22.2 | D+10.7 | 6.3 | 4.2 | 1.2 | 6 |
| 230 ~ 299 | D+24.2 | D+10.7 | 6.3 | 4.2 | 1.2 | 8 |
| 300 ~ 629 | D+33,0 | D+15.1 | 8.1 | 6.3 | 1.2 | 10 |
| 630 ~ 1000 | D+36,5 | D+15.1 | 9.5 | 6.3 | 2 | 12 |
| Номер продукта | d | D1 | H | G+0.3 | D2 | a |
| DHS 12 | 12 | 20 | 6 | 5 | 16.3 | 2 |
| DHS 14 | 14 | 22 | 6 | 5 | 18.3 | 2 |
| DHS 16 | 16 | 24 | 6 | 5 | 20.3 | 2 |
| DHS 18 | 18 | 26 | 6 | 5 | 22.3 | 2 |
| DHS 20 | 20 | 28 | 6 | 5 | 24.3 | 2 |
| DHS 22 | 22 | 30 | 6 | 5 | 26.3 | 2 |
| DHS 25 | 25 | 33 | 6 | 5 | 29.3 | 2 |
| DHS 28 | 28 | 36 | 6 | 5 | 32.3 | 2 |
| DHS 30 | 30 | 38 | 6.5 | 6 | 34 | 2 |
| DHS 32 | 32 | 40 | 6.5 | 6 | 36 | 2 |
| DHS 35 | 35 | 43 | 6.5 | 6 | 39 | 2 |
| DHS 38 | 38 | 46 | 6.5 | 6 | 42 | 2 |
| DHS 40 | 40 | 48 | 6.5 | 6 | 44 | 2 |
| DHS 45 | 45 | 53 | 6.5 | 6 | 49 | 2 |
| DHS 48 | 48 | 56 | 6.5 | 6 | 52 | 2 |
| DHS 50 | 50 | 58 | 6.5 | 6 | 54 | 2 |
| DHS 55 | 55 | 63 | 6.5 | 6 | 59 | 2 |
| DHS 56 | 56 | 64 | 6.5 | 6 | 60 | 2 |



























































Адрес
№ 1 Ruichen Road, промышленный парк Дунлютин, район Чэнъян, город Циндао, провинция Шаньдун, Китай
Тел.
Электронная почта