Циндао Ruichen Sealing Technology Co., Ltd.
Циндао Ruichen Sealing Technology Co., Ltd.
Новости

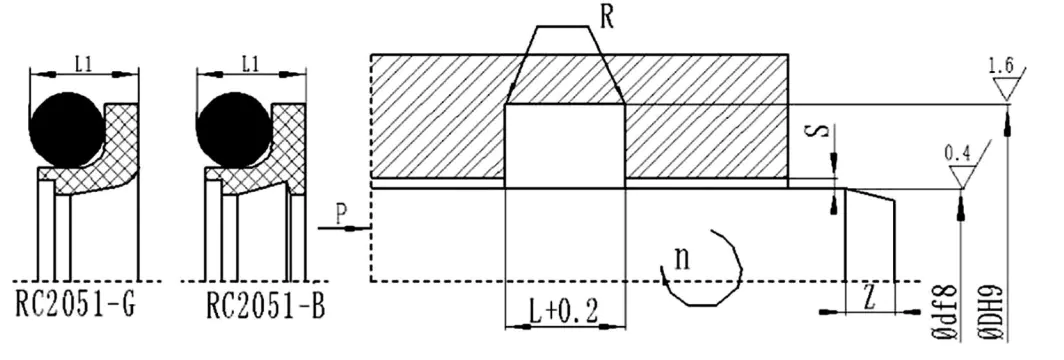
RC2051-B/G Комбинированное уплотнение для вращающегося вала

Это уплотнение состоит из зубчатого герметичного кольца, заполненногоМатериал PTFEиУплотнительное кольцо-резиновое кольцо, подходит для одностороннего герметизации гидравлического и пневматического поршневого и вращающегося движения. Он обладает характеристиками высокой жизни, низкого трения, хорошего уплотнения, небольшого структурного пространства и может использоваться для уплотнения давления воды. Он разделен на RC2051-B (стандартный тип) и RC2051-G (высокоскоростный тип). Специальная конструкция губ RC2051 обладает хорошим эффектом герметизации и чрезвычайно низкой устойчивостью к трению даже для пневматического возврата илироторные уплотнения.

Выбор материала

1. Можно выбрать соответствующий материал уплотнительного кольца: R01 Нитрильный резин (NBR), R02 Fluororubber (FKM) и т. Д.

2. Материал герметичного кольца: стандартный материал PTFE4, другие дополнительные материалы PTFE1, PTFE2, PTFE3, PTFE5.


Структурная диаграмма



Похожие новости
Оставьте мне сообщение
X
We use cookies to offer you a better browsing experience, analyze site traffic and personalize content. By using this site, you agree to our use of cookies. Privacy Policy
Reject Accept