Среди ротационных пружинных уплотнений существует в основном два типа: RC2055 и RC2056. Ruichen Seals в течение многих лет изучает разработку и производство продуктов Seal. В соответствии с различными ситуациями и различными потребностями, он усовершенствовал более подробные конструкции.
RC2055-это уплотнение вращающейся пансионета, RC2055-B представляет собой поворотное зубчатое уплотнение, а RC2055-C-это вращающийся Y-образный комбинированный комбинированный уплотнение. Канавки трех являются взаимозаменяемыми. Они представляют собой уплотнения с высоким функцией с однонаправленным давлением, приложенным к вращающимся валам. Среди них роторное уплотнение RC2055 состоит из пружин из нержавеющей стали и высокофункциональных пластмасс. При использовании RC2055-B и RC2055-C необходимо разумно выбрать соответствующие эластомерные материалы.
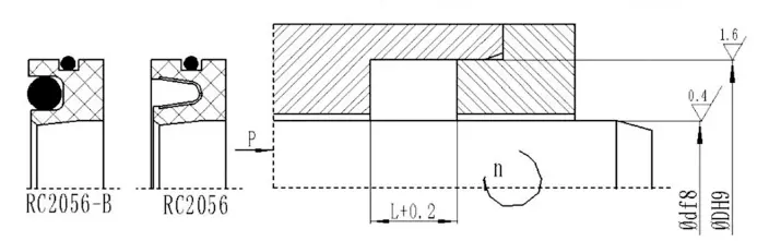
RC2056 представляет собой уплотнение ротационного панорушения, а RC2056-B-это вращающийся Y-образный комбинированный комбинированный уплотнение. Канавки также могут быть взаимозаменяются. Это также подходит для использования в вращающихся валах. Среди них роторное уплотнение RC2056 состоит из пружин из нержавеющей стали и высокофункциональных пластиков. При использовании RC2056-B и необходимо разумно выбрать соответствующие эластомерные материалы.
Особенности продукта и приложения:
Особенности продукта:
Высокая производительность: пружины из нержавеющей стали и высокофункциональные пластмассы объединяются для обеспечения превосходной производительности и долговечности.
Взаимодействие: дизайн Groove продуктов в серии одинакова, что позволяет взаимозаменяемости и гибкую адаптацию к различным условиям труда.
Широко применимо: подходит для одностороннего герметизации вращающихся валов для удовлетворения разнообразных промышленных потребностей.
Дополнительные эластомеры: RC2055-B, RC2055-C и RC2056-B поддерживают выбор соответствующих эластомерных материалов в соответствии с условиями труда для улучшения адаптивности.
Сценарии приложения:
Оплотнение в одностороннем давлении вращающихся валов подходит для промышленного оборудования, инженерного оборудования, гидравлических систем и т. Д.
Случаи, когда требуется герметизация высокой функции, такие как нефтехимические вещества, энергетическое оборудование, тяжелый механизм и т. Д.
Технические преимущества:
Пружины из нержавеющей стали обеспечивают стабильную радиальную силу для обеспечения долгосрочного эффекта герметизации.
Комбинация высокофункциональных пластиков и эластомерных материалов подходит для высокого давления и высокоскоростных условий труда.
С взаимозаменяемым дизайном Groove упрощает установку и обслуживание и снижает стоимость использования.
Предложения об использовании:
Выберите соответствующую модель уплотнения и эластомерный материал в соответствии с конкретными условиями работы.
Убедитесь, что канавка чистая во время установки, чтобы избежать повреждения уплотнения.
RC2055
Применимые условия труда (предельные значения не должны появляться одновременно)
| Давление (MPA) | Температура (℃) | Скорость (РС) | Середина | |||
| ≤35 | RC2055 | RC2055-B/C. | RC2055 | RC2055-B | RC2055-C | Почти все жидкие и газовые носители |
| -200 ~+250 | -35 ~+250 | <2 м/с | <6 м/с | <2 м/с | ||
Выбор материала
1. Можно выбрать соответствующие материалы уплотнительного кольца: нитриловый резина RO1 (NBR), RO2 Fluororubber (FKM) и т. Д.
2. Материалы запечатывания кольца: PTFE1, PTFE2, PTFE3, PTFE4, UPE, PK1, PK2 и т. Д.
3. пружина из нержавеющей стали: V-образная пружина.
Пример заказа
RC2055- 40-PTFE4+V Диаметр вала 40, уплотнение кольцевого материала-PTFE4, пружина из нержавеющей стали-V-образная пружина
RC2055-B-40-PTFE4+R02 Диаметр вала составляет 40, уплотнительное кольцо материалом является PTFE4, соответствующее уплотнительное кольцо является фторуруббером
RC2055-C-40-PTFE4+R02 Диаметр вала составляет 40, уплотнительное кольцо материалом является PTFE4, соответствующее уплотнительное кольцо является фторуруббером
Таблица параметров спецификации (доступны все спецификации в диапазоне параметров)
| Диапазон диаметра стержня D F8 | Диаметр канавки DH9 | Диаметр канавки d1h10 | Края глубина L1 | Ширина канавки Л | Импорт патфир k | Радиальный клиренс S Макс | Длина пачки | ведущий максимум | |
| 10 МПа | 20 МПа | ||||||||
| 5 ~ 19,9 | D+5 | D+9 | 0,85 -0,1 | 3.6 | 0.3 | 0.15 | 0.1 | Змин = 0,8 л | 0.8 |
| 20 ~ 39,9 | D+7 | D+12,5 | 1,35 -0,15 | 4.8 | 0.4 | 0.20 | 0.15 | 1.1 | |
| 40 ~ 400,9 | D+10,5 | D+17,5 | 1.8 -0.2 | 7.1 | 0.5 | 0.25 | 0.20 | 1.4 | |
| 401 ~ 1500 | D+14 | D+22 | 2.8 -0.2 | 9.5 | 0.5 | 0.30 | 0.25 | 1.6 | |
Примечание: рекомендуется, чтобы поверхностная твердость вращающегося вала была HRC ≥ 58.
RC2056
Применимые условия труда (предельные значения не должны появляться одновременно)
| Давление (MPA) | Температура (℃) | Скорость (РС) | Середина | ||
| ≤2 | RC2056 | RC2056-B | RC2056 | RC2056-B | Почти все жидкие и газовые носители |
| -200 ~+250 | -35 ~+250 | <14 м/с | <6 м/с | ||
Выбор материала
1. Можно выбрать соответствующие материалы уплотнительного кольца: нитриловый резина RO1 (NBR), RO2 Fluororubber (FKM) и т. Д.
2. Материалы запечатывания кольца: PTFE1, PTFE2, PTFE3, PTFE4, UPE, PK1, PK2 и т. Д. 3. пружина из нержавеющей стали: V-образная пружина.
Пример заказа
RC2056-40*62*8-PTFE4+V D*D*L, материал для герметичного кольца-PTFE4, а пружина из нержавеющей стали-V-образная пружина RC2056-B-40*62*8-PTFE4+R02 D*D*L, материал для герметизации составляет PTFE4, а соответствующее уплотнительное кольцо-фторуруббер



















Адрес
№ 1 Ruichen Road, промышленный парк Дунлютин, район Чэнъян, город Циндао, провинция Шаньдун, Китай
Тел.
Электронная почта