|
Давление/МПа |
Температура/°С |
Скорость /м/с |
Середина |
|
≤40 |
-35~+100 (с уплотнительным кольцом NBR) |
≤2 |
Гидравлическое масло, эмульсия, вода, газ и т. д. |
|
-20~+200 (с уплотнительным кольцом FKM) |
1. Доступные материалы уплотнительных колец: нитрилбутадиеновая резина R01 (NBR), фторкаучук R02 (FKM) и т. д.
2. Материалы уплотнительных колец: стандартные материалы PTFE3 и PTFE4; другие дополнительные материалы включают ПТФЭ1, ПТФЭ2 и ПТФЭ5.
Пример заказа
Модель для заказа RC2052—80x91×4,2—PTFE3—R01 Модель-dxDxL- Код материала
Модель для заказа RCX17 — 80x91×4,2 — Модель HPU — dxDxL — Код материала
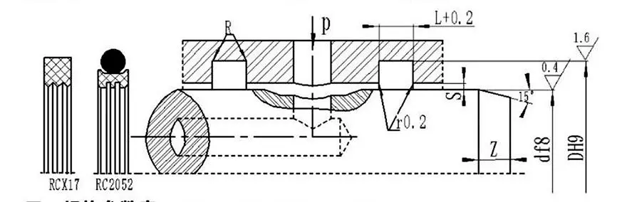
Таблица технических характеристик и параметров (возможна любая спецификация в пределах диапазона параметров)
|
Диапазон диаметров вала д f8 |
Диаметр траншеи ДХ9 |
Ширина траншеи L+⁰,2 |
Радиальный зазор Smax |
Закругленные углы Рмакс |
Фаска Змин |
|
|
0~10МПа |
10~20МПа |
|||||
|
6~18 |
д+49 |
2.2 |
0.15 |
0.1 |
0.4 |
2 |
|
19~37 |
д+7,5 |
3.2 |
0.2 |
0.15 |
0.6 |
3 |
|
38~199 |
д+11,0 |
4.2 |
0.25 |
0.2 |
1.0 |
4 |
|
200~255 |
д+15,5 |
6.3 |
0.3 |
0.25 |
1.3 |
5 |
|
256~649 |
д+21,0 |
8.1 |
0.3 |
0.25 |
1.8 |
7 |
|
650~1500 |
д+28,0 |
9.5 |
0.45 |
0.3 |
2.0 |
8 |
Примечание. Для валов диаметром ≤ 30 мм рекомендуется использовать открытые канавки.
|
d |
D |
L |
d |
D |
L |
d |
D |
L |
d |
D |
L |
|
8 |
12.9 |
2.2 |
48 |
59.0 |
4.2 |
150 |
161.0 |
4.2 |
350 |
371.0 |
8.1 |
|
10 |
14.9 |
2.2 |
50 |
61.0 |
4.2 |
160 |
171.0 |
4.2 |
360 |
381.0 |
8.1 |
|
12 |
16.9 |
2.2 |
55 |
66.0 |
4.2 |
170 |
181.0 |
4.2 |
370 |
391.0 |
8.1 |
|
14 |
18.9 |
2.2 |
60 |
71.0 |
4.2 |
180 |
191.0 |
4.2 |
380 |
401.0 |
8.1 |
|
15 |
19.9 |
2.2 |
63 |
74.0 |
4.2 |
190 |
201.0 |
4.2 |
390 |
411.0 |
8.1 |
|
16 |
20.9 |
2.2 |
65 |
76.0 |
4.2 |
200 |
215.5 |
6.3 |
400 |
421.0 |
8.1 |
|
18 |
22.9 |
2.2 |
70 |
81.0 |
4.2 |
210 |
225.5 |
6.3 |
420 |
441.0 |
8.1 |
|
20 |
27.5 |
3.2 |
75 |
86.0 |
4.2 |
220 |
235.5 |
6.3 |
450 |
471.0 |
8.1 |
|
22 |
29.5 |
3.2 |
80 |
91.0 |
4.2 |
230 |
245.5 |
6.3 |
480 |
501.0 |
8.1 |
|
24 |
31.5 |
3.2 |
85 |
96.0 |
4.2 |
240 |
255.5 |
6.3 |
500 |
521.0 |
8.1 |
|
25 |
32.5 |
3.2 |
90 |
101.0 |
4.2 |
250 |
265.5 |
6.3 |
520 |
541.0 |
8.1 |
|
28 |
35.5 |
3.2 |
95 |
106.0 |
4.2 |
260 |
281.0 |
8.1 |
550 |
571.0 |
8.1 |
|
30 |
37.5 |
3.2 |
100 |
111.0 |
4.2 |
270 |
291.0 |
8.1 |
600 |
621.0 |
8.1 |
|
32 |
39.5 |
3.2 |
105 |
116.0 |
4.2 |
280 |
301.0 |
8.1 |
630 |
651.0 |
8.1 |
|
35 |
42.5 |
3.2 |
110 |
121.0 |
4.2 |
290 |
311.0 |
8.1 |
650 |
678.0 |
8.1 |
|
36 |
43.5 |
3.2 |
115 |
126.0 |
4.2 |
300 |
321.0 |
8.1 |
670 |
698.0 |
9.5 |
|
38 |
49.0 |
4.2 |
120 |
131.0 |
4.2 |
310 |
331.0 |
8.1 |
700 |
728.0 |
9.5 |
|
40 |
51.0 |
4.2 |
125 |
136.0 |
4.2 |
320 |
341.0 |
8.1 |
750 |
778.0 |
9.5 |
|
42 |
53.0 |
4.2 |
130 |
141.0 |
4.2 |
330 |
351.0 |
8.1 |
800 |
828.0 |
9.5 |
|
45 |
56.0 |
4.2 |
140 |
151.0 |
4.2 |
340 |
361.0 |
8.1 |
1000 |
1028.0 |
9.5 |
Примечание. Необходимые характеристики здесь не указаны; пожалуйста, свяжитесь с нашей компанией. Мы предлагаем изделия с максимальным диаметром 2800 мм.





Полная инструкция по установке и использованию.
Руй Чен знает, что правильная установка является первым условием для обеспечения полной работоспособности уплотнений. Мы также предоставим вам исчерпывающие рекомендации по использованию каждого продукта, особенно сложных или нестандартных нестандартных деталей, а также подробное графическое руководство по установке.
Эти руководства сопровождаются пошаговыми диаграммами высокого разрешения и текстовыми инструкциями, которые четко показывают точки проверки перед установкой, правильные этапы установки, необходимые инструменты и неправильные операции, которых следует избегать, как если бы наши инженеры находились на месте. Кроме того, для сложных узлов или систем мы создаем профессиональные видеоуроки, которые позволяют вашим операторам интуитивно и быстро освоить методы установки и меры предосторожности посредством динамических демонстраций, что значительно снижает риск раннего отказа из-за неправильной установки.
Адрес
№ 1 Ruichen Road, промышленный парк Дунлютин, район Чэнъян, город Циндао, провинция Шаньдун, Китай
Тел.
Электронная почта